产品展示 | 联系我们 浦宏环保公司主营项目:污水处理设备、中水回用设备、废水零排放设备、纯水设备、物料分离过滤设备!
20年专注水处理设备技术研发 专注技术 专心质量 专业服务
全国咨询热线:159-2117-8145
您的位置: 首页>新闻中心>行业新闻
新闻中心

联系我们contact us

香港免费公开资料大全
地址:江苏省苏州市昆山市淀山湖双马路168号6号楼
联系人:朱经理
电话:159-2117-8145
手机:15921178145

行业新闻

海水淡化设备_一种固液分离的太阳能海水淡化装置

时间:2023-06-30 15:40:00 来源:[db:出处] 点击:462次

浦宏海水淡化设备海水反渗透设备厂家报价,型号齐全,欢迎采购造型。
1 、浦宏海水淡化设备零部件均采用知,质量可靠。
2 、整体化程度高,易于扩展,增加膜数量即可增加处理量。
3 、浦宏海水淡化设备自动化程度高,遇故障立即自停,具有自动保护功能。
4 、脱盐率高,可达 98 %以上。
5 、浦宏海水淡化设备能耗低,运行成本低。
6 、水利用率高,回收率达到 50 - 75 %。
7 、浦宏海水淡化设备结构合理,占地面积少。
8 、先进的膜保护系统,在设备关机时,淡化水可自动将膜表面的污染物冲洗干净,延长膜寿命。
9 、系统无易损部件,无需大量维修,运行长期有效。

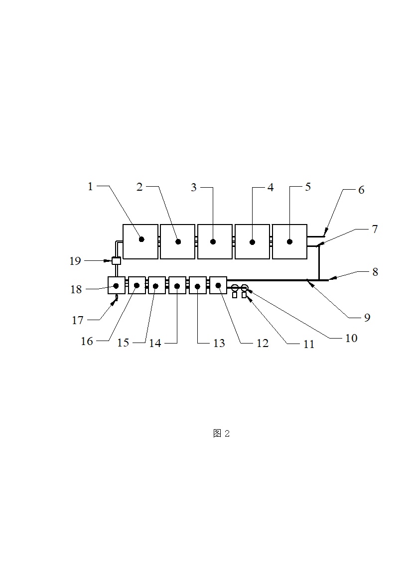
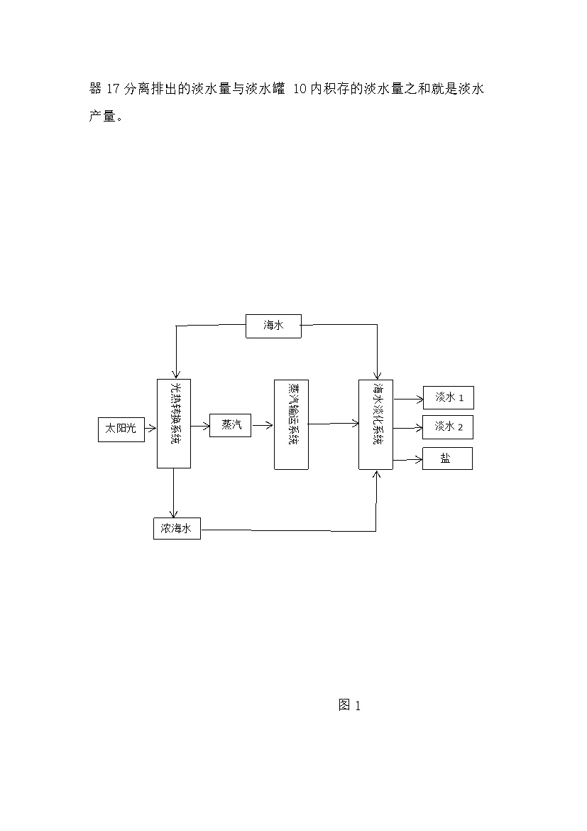
摘要:本发明提供的一种固液分离的太阳能海水淡化装置,整合顶置加热面太阳能蒸发技术和新型热法海水淡化技术,开创了太阳能海水淡化蒸汽冷凝热回收利用新技术。光热转换单元采用减压蒸发技术,能尽可能多地制得蒸汽,提高太阳能利用率。固液分离的海水淡化装置能最大限度回收利用蒸汽冷凝热,解决了现有被动式太阳能海水淡化技术蒸汽冷凝热不能回收利用的问题。蒸汽储罐储汽蓄热或设置燃油燃气锅炉补充蒸汽,保证海水淡化装置连续均衡运行。光热板下表面加热蒸发海水,规避了太阳能界面蒸发技术难以克服的界面盐沉积问题,具有大规模低成本推广应用价值。将海水分离成盐和淡水,没有浓海水排放,海水资源得到充分利用,对环境无污染。


香港免费公开资料大全

香港免费公开资料大全是一家专注水处理设备的厂家,主要产品有RO反渗透设备中水回用设备,EDI高纯水设备,海水淡化设备软化水设备超滤设备、去离子水设备,工业废水污水处理设备等各种水处理技术的研发,设计生产、安装调试等一体化企业。商务咨询:178-1187-2518 王工

在线客服
联系方式

热线电话

159-2117-8145

上班时间

周一到周五

手机号码

15921178145

二维码
线